黑客来袭!用这一招,轻松守护网站和服务器安全
发布日期:
2025-02-24 17:07:24
本文链接
//m.cdz100.com//industry/2365.html
本文关键词
黑客入侵现已经形成
产业化、无人化、智能化。
黑客一般都是先使用入侵工具
自动全网扫描服务器漏洞和网站漏洞,
找到漏洞后再实施入侵,
节省大量的人力和物力,
因此也就出现了大量的扫描肉鸡。
如果我们能屏蔽掉这些扫描肉鸡,
让黑客没法扫描服务器和网站的漏洞,
那入侵几率岂不是就小了很多。
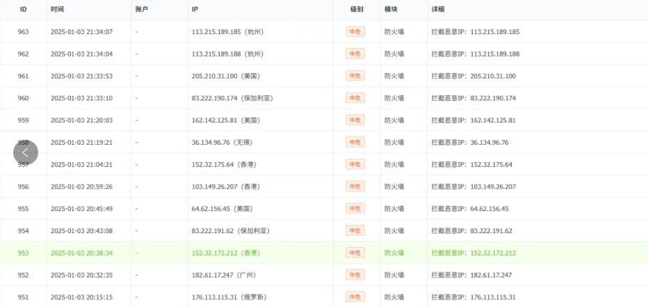
一种是收集肉鸡IP库,直接拦截这些IP访问。 另外一种是分析访问行为, 判断是肉鸡扫描,立即进行拦截。 防入侵系统来拦截肉鸡扫描。 其内置的“恶意IP库”, 收集有数十万全球各地的肉鸡IP (都是服务器IP), 拦截效果非常精准(如下图一)。 全球威胁监测网,自动收集全球恶意IP,每小时更新一次恶意IP库! 如上图,防入侵系统拦截全球恶意IP 对主机发起的扫描攻击, 同时还能可视化显示攻击来源, 如下图二。 (图二:可视化攻击溯源) 在此基础上, 还能智能化分析用户访问行为, 对不在库中的恶意扫描IP, 也能及时拦截。如下图三, 使用“404扫描防护”模块即可实现智能拦截。 (图三:智能拦截恶意IP扫描) 当黑客发起扫描攻击时, 就会及时拦截,效果如下图四。 (图四:自动拦截恶意IP扫描行为) 有了专业的防入侵系统, 再也不担心 黑客扫描服务器漏洞和网站漏洞了!
要屏蔽肉鸡IP,有两种办法,
我们可以使用专业的




优选机房
注册有礼
在线咨询
咨询热线:400-028-0032